ESpec - мир электроники для профессионалов


Сервис мануал SONY SLV-426EE и SLV-436EE

  Список форумов » DVD-проигрыватели и видеомагнитофоны

Следующая тема · Предыдущая тема
АвторСообщение
Alex19901 
Бывалый
Сообщения: 39
 
Сообщение #1 От 30/08/2022 01:18 цитата  

Всем привет!!!
Нужен сервис-мануал на видеомагнитофон SONY SLV-426EE !!! Если у кого есть полный мануал, пришлите пожалуйста. Заранее спасибо.

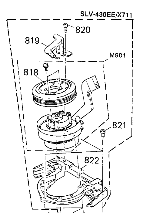
Кстати, в сервис-мануале на SLV-436EE не нашёл партномер БВГ в сборе , только верхний барабан нашёл, хотя позиция M901 была и в сборе. Может в интернете опубликован мануал не со всеми страницами.

  436.PNG  43.12 КБ  Скачано: 252 раз(а)
pasha-4 
Участник
Сообщения: 152
 
Сообщение #2 От 30/08/2022 06:06 цитата  

Alex19901, у Тани есть

Перейти: 
Следующая тема · Предыдущая тема
Показать/скрыть Ваши права в разделе

Интересное от ESpec


Другие темы раздела DVD-проигрыватели и видеомагнитофоны



Rambler's Top100 Рейтинг@Mail.ru liveinternet.ru