ESpec - мир электроники для профессионалов


СМА Siemens Siwamat 7163 serie IQ медленный набор воды

  Список форумов » Стиральные и посудомоечные машины
На страницу Пред.  1, 2
Следующая тема · Предыдущая тема
АвторСообщение
Marko2007 
Передовик
Сообщения: 1308
Marko2007
 
Сообщение #21 От 06/01/2010 19:48 цитата  

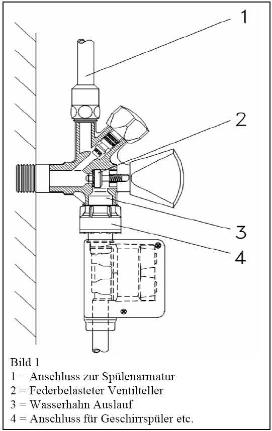
Магнитный вентиль это кран для воды и встроенный к нему для стиралки подключение.

  Wasserhahn.jpg  44.22 КБ  Скачано: 767 раз(а)
regiss 
Злой
Сообщения: 5633
regiss
 
Сообщение #22 От 06/01/2010 22:31 цитата  

Marko2007 писал:
Магнитный вентиль это кран для воды и встроенный к нему для стиралки подключение.

Сам хотя бы понял, что написал ?
Ткни мне, тупому, пальцем в данном рисунке, где тут "магнитный вентиль" из за которого может "дурковать" Аквастоп ?????
Рифат 
Обыкновенный человек
Сообщения: 17778
 
Сообщение #23 От 07/01/2010 07:48 цитата  

Грустно что то в последнее время мне становится от всего этого...... равнодушие
мастер см 
Завсегдатай
Сообщения: 510
мастер см
 
Сообщение #24 От 07/01/2010 22:45 цитата  

grifat, а ты не грусти и сноси на ...

Перейти: 
Следующая тема · Предыдущая тема
На страницу Пред.  1, 2
Показать/скрыть Ваши права в разделе

Интересное от ESpec


Другие темы раздела Стиральные и посудомоечные машины



Rambler's Top100 Рейтинг@Mail.ru liveinternet.ru