ESpec - мир электроники для профессионалов


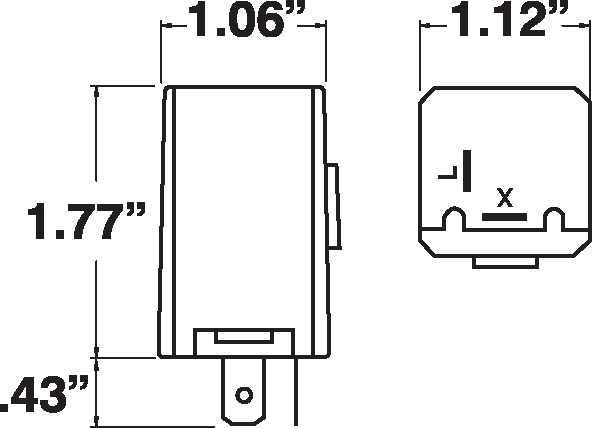
Hamsar 43017 SAE J590 & J945 FMVSS108

  Список форумов » Нарушения правил

Следующая тема · Предыдущая тема
АвторСообщение
Винтик 
Бывалый
Сообщения: 79
Винтик
 
Сообщение #1 От 01/04/2018 09:14 цитата  

Привет.

Есть реле на Авто. Hamsar 43017 SAE J590 & J945 FMVSS108





Схема очень проста, Реле, резистор ограничительный и 2 ёмкости 840 мкФ на 6,3 В.

Ёмкости не стандартные или у меня подозрение, что на них вовсе значение от балды.
Ёмкость в 840 мкФ на 6,3 В в 1,5 раза меньше чем "нормальная" на 1000 мкФ на 6,3 В ?

По расположению получается X - подключается "+" на L - подключается "-", проходящий понятно через лампочку,
чтоб на ёмкостях соблюдалась полярность. Сами ёмкости нарисованы ещё как "диоды" :-)
Вот так: 12В "+" питание на "X реле" - [коммутация на "L" ] - "L" - на "HL лампа" - на GND.

На ёмкостях на фиксируется не надолго 12 В естественно, а не 6,3 В. Потому и подозрение
появилось, может там на 25 В ёмкость (по размеру как раз похожа) а не 6,3 ?
Или они специально так делают, чтоб они все со временем вздувались и ломались?

\Поставил вместо вздутой 1000 х 6,3 - частота понятно будет чуть чуть другой,
но т.к. производитель заявляет 60-120 "флешь" то сам не знает точности.
Вот только на счёт 6,3 сомнение, на долго ли.\
xarl 
Модератор
<B>Модератор</B>
Сообщения: 21870
xarl
 
Сообщение #2 От 01/04/2018 10:43 цитата  

Винтик, Род занятий:....................................?
Винтик 
Бывалый
Сообщения: 79
Винтик
 
Сообщение #3 От 01/04/2018 12:05 цитата  

Разнорабочий.
Но я про напряжение на ёмкостях спрашивал.
xarl 
Модератор
<B>Модератор</B>
Сообщения: 21870
xarl
 
Сообщение #4 От 01/04/2018 12:08 цитата  

Винтик, Род занятий:...........................................?
Винтик 
Бывалый
Сообщения: 79
Винтик
 
Сообщение #5 От 01/04/2018 12:17 цитата  

Ой, так вы бот. Блин. А я думал кто то.
xarl 
Модератор
<B>Модератор</B>
Сообщения: 21870
xarl
 
Сообщение #6 От 01/04/2018 12:23 цитата  

Винтик, Род занятий разнорабочий. Напиши так...
Винтик 
Бывалый
Сообщения: 79
Винтик
 
Сообщение #7 От 01/04/2018 14:20 цитата  

Аааа. Извиняюсь. Редко у вас бываю, но такой хороший сайт не забываю и ещё http://monitor.net.ru.
Не знаю даже почему эти сайты не единое целое.

Ранее работал и был связан с электроникой, сейчас больше всякое ПО.
Потому всё равно попадается по мелочи разная электроника.

Род занятий разнорабочий.
Сейчас чуть больше в сфере ПО.

Перейти: 
Следующая тема · Предыдущая тема
Показать/скрыть Ваши права в разделе

Интересное от ESpec


Другие темы раздела Нарушения правил

000
000
000
13
67
67
67


Rambler's Top100 Рейтинг@Mail.ru liveinternet.ru