| Автор | Сообщение |
-20 dB
Фанат форума
Сообщения: 7674
|
audi, схемка конечно симпатичная и простая, но... Недостаток почти всех самодельных контактных датчиков уровня - на электродах постоянное напряжение. В результате - эрозия электродов, "анодное" окисление с ухудшением контакта. Оба недостатка уменьшаются снижением тока через электроды, но при этом требуется увеличение чувствительности схемы (что здесь и сделано). В результате - возможны случайные срабатывания, например, через слой конденсата на электродах. Загрубление же чувствительности приводит к необходимости увеличения тока через электроды и... читай выше.
Вот ПРОМЫШЛЕННОЕ решение датчика уровня (3-х канальный - с гальванически разделёнными каналами - датчик-реле уровня РОС-301, может, не так просто, зато надёжно, сертифицировано для применения в химической промышленности, номиналы деталей... придётся смотреть на оригинале. Вроде, на работе в кладовке дохлый где-то валяется, если надо - посмотрю):
ЗЫ: кстати, в схеме ошибочка... Не моя, схема выдрана откуда-то из Инета. Суть понятна, а исправленную схему выложу чуть позже, если оно, конечно, надо. Тут, если интересно, описание принципа работы датчика, способы установки электродов и пр.хр.

|
|
m.ix
Master Mixa
Сообщения: 1972+
|
тот же поплавок будет и включать.
Только стоять будут два микрика по отдельность
микрик нижнего и микрик верхнего уровня. |
|
-20 dB
Фанат форума
Сообщения: 7674
|
| m.ix, тогда уж не микрик, а нержавучая труба с герконами, и ферритовый магнит на поплавке , сквозь который та труба продета. Микрик для эксперимента хорош, но если система будет запускаться в автоматическом режиме - надёжность превыше всего. Правда, не надо жадничать, и люфт оставить как в том анекдоте - побольше, доктор, побольше", иначе есть возможность перекоса магнита и его заклинивания. |
|
m.ix
Master Mixa
Сообщения: 1972+
|
мож у чела собственная водонапорная башня литров так эдак минимум на 10000 Тогда тут иной подход.
А датчики можно и оптические ставить.
Вон как шарик в электрочанике - показометр уровня. |
|
-20 dB
Фанат форума
Сообщения: 7674
|
m.ix, неважно, какая башня. Квасная бочка на опорах над огородом на дачном участке при переливе с подпиткой скважинным насосом за сутки превращает в рисовые чеки не только СВОЙ участок, но и весь дачный кооператив. Кстати, насчёт скважинноного насоса - ему такая же автоматика требуется (отключение при "высасывании воды из скважины и включение при её наполнении до определённого уровня), чтобы не пытался сделать из той цистерны воздушный шарик, и в то же время не "хлюпал" каждый раз по два литра при первой возможности. Вот система на бочке и должна управлять системой управления собственно насосом.
ДОБАВЛЕНО 05/01/2010 8:00 AM
| m.ix писал: | | А датчики можно и оптические ставить. |
Угу. И стёклышки через день протирать... Изнутри... Вместо утренней зарядки. Или воду в бочку через "Аквафор" закачивать? Миш, природная вода - не водопроводная. Да и с водопроводной... Отстаиваю воду для цветов в пластиковой 5-литровой бутылке - она уже забыла за полтора года, что когда-то прозрачной была. |
|
m.ix
Master Mixa
Сообщения: 1972+
|
| Вот бы две темы вместе слепить эту и аналогичную 1:1 про теже датчики сколько там воды |
|
audi
Завсегдатай
Сообщения: 489
|
Спорить можно бесконечно какая схема лучше, два года работы без перерыва готовый блок от мастеркит говорит о том ,что схема надежная можно повторять смело, а вот номиналы ...я не помню..
http://www.masterkit.ru/main/set.php?code_id=333361 По моему готовый блок покупали. Некоторые,кто не силен в элктронике,применяют для этих целей миханизм смывного бачка, работает прекрасно. |
|
m.ix
Master Mixa
Сообщения: 1972+
|
|
audi
Завсегдатай
Сообщения: 489
|
|
БЕЗЫМЯННЫЙ
Бегущий по граблям
Сообщения: 7608
|
| Отдаю бесплатно в хорошие руки идею : датчик уровня (или как бишь его по павильному то) от стиралки плюс мощная релюха на насос. |
|
-20 dB
Фанат форума
Сообщения: 7674
|
БЕЗЫМЯННЫЙ, мало. Таки, если глубина "ёмкости" достаточно большая - два датчика уровня надо.
Иначе такой датчик (с малым гистерезисом) будет поддерживать один уровень воды. А при слабом обмене вода рано или поздно начнёт застаиваться и "тухнуть". Т.е: выкачиваться она должна почти полностью... Ну, и закачиваться желательно пополнее - чтобы насос пореже гонять в вкл/выкл режиме.
Однако автор куда-то потерялся. Как узнать, ёмкость-то какая? |
|
Strike
Фанат форума
Сообщения: 3812
|
Вот. 

|
|
-20 dB
Фанат форума
Сообщения: 7674
|
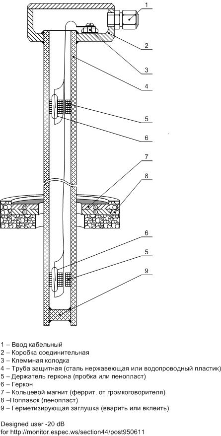
Strike, ну, к чему лишние сложности... Шарнирные опоры, которые периодически надо смазывать, пружинный весоизмеритель, который надо столь же периодически чистить, открытые контактные группы, которые столь же трудно загерметизировать, сколь и уследить, когда оно заср... извиняюсь, обгорит или окислится...
Проще, и надёжнее, на скорую руку собирается быстрее, чем я рисовал (забыл дорисовать, теперь лень снова переделывать - труба должна упираться в дно "бассейна", чтобы поплавок с магнитом случайно не "уплыл" при полном опорожнении ёмкости, например, при отключении электропитания насоса. Кстати, на толщине поплавка под магнитом тоже лучше не экономить, чтобы магнит намертво не "прилипал" к дну при полном опорожнении ёмкости, если она сделана из стали):
Уровень_.jpg 59.54 КБ Скачано: 6268 раз(а)
|
|
|
Shauriji
|
| Нужны наименования радиодеталей на схему выложеную M.IX |
|
m.ix
Master Mixa
Сообщения: 1972+
|
Shauriji, http://www.masterkit.ru/ там этот набор продают там и схема там и номиналы.
NF250**
Устройство управления насосом |
|
|
rioo
|
| здравствуйте.помогите пожалуйста с решением такой задачи:управление погружным насосом с помощью мобильного телефона ,возможно ли снять с мобыли вибратор а вместо него подключит какую нибудь схемку а та уже будет управлять автоматикой- звонок вкл.еще звонок выкл. мне говорили что есть готовый эл.шиты который управляется sms-сообщениями и в интернете про них много информаций .просто у нас их нету в продаже . |
|
-20 dB
Фанат форума
Сообщения: 7674
|
| rioo, можно, и даже несложно, но лучше не надо. Обратная связь отсутствует, и если кто нибудь случайно ошибётся при наборе номера и позвонит "на насос", ты об этом узнаешь последним... С этого момента каждый раз, когда ты думаешь, что ВКЛЮЧАЕШЬ насос, ты будешь его ВЫКЛЮЧАТЬ, и наоборот. А вот системы управления по GPRS SMS поискать можно, если нужно. Ес-сно, подключаются они не к телефону, а вполне автономные устройства. Где-то я читал про них, и видел даже заказную информацию... Давно, сейчас не вспомню, но если надо - могу и повторить поиск (тем более, что помню, что где-то на сайте у Сименс-Автоматики). |
|
Немцов
Завсегдатай
Сообщения: 401
|
| Можно проще на микросхеме КР1008ВЖ18, приёмник - декодер двухтонального (DTMF) сигнала. С выхода телефона сотового на вход ВЖ18, а выход управляет реле, например 1-вкл, 2 выкл. Позвонил на "насос" , нажал "1", насос включился и даже в ответ можно послушать, как работает ( если микрофон телефона рядом с насосом). Нажал "2" -выключился. Остальные 8 выходов можно еще к чему-нибудь приспособить. |
|
kapral_82
Завсегдатай
Сообщения: 440
|
| GSM модули сейчас копейки стоят,в принципе есть варианты, брать модуль со встроенной java и на ней написать свою программу,подключить реле,датчики. Либо брать модуль без поддержки java, цеплять контроллер и дальше реле,датчики. Есть вариант в качестве GSM модуля использовать телефон и с помощью контроллера организовывать работу с АТ командами(телефон из разряда Сименс С35 и т.д.) |
|