| Автор | Сообщение |
|
perdus
|
UOC - TDA9381PS/N3/3/1642
Memory - A81DC
SMPS - 5Q0765RT
TR Chopper - AA26-00134A
SAW - K2971M
Vertical - LA78040
Sound - TDA8943SF
Tuner - TECC0949PL35A(S) AA40-00077A
Tube - A51MAT90X54(C)
FBT - BSC25-0218A AA26-00238A
HOT - 2SD2499
RGB Amp. - TDA6107JF
Телевизор без внешних признаков жизни, без звука и разверток. При включении однократно моргает светодиод, на 1 пине процессора устанавливается 5в (должно быть 3в.). Через несколько минут, видимо, срабатывает автоотключение при отсутствии сигнала, и устанавливается 0в (норма для stand by), загорается светодиод ждущего режима. Есть реакция на кнопки переключателя каналов, после нажатия на пин 1 снова появляется 5в. То есть, частично процессор работает. С ic802 напряжения 3.3, 5.1 и 8в. на процессор поступают.
Процессор мёртв? К сожалению, осциллографа у меня нет...
1537673970609326.jpg 41.03 КБ Скачано: 391 раз(а)
|
|
виктор-теледоктор
Фанат форума
Сообщения: 13900
|
|
ALEGA
Завсегдатай
Сообщения: 502
|
| Непропаи , микротрещины ,+В ,ТМС не в обриве? Стань тестером на проц. HOUT при on -off пультом напряжение меняется?,но лучше осликом, если мастер то купи,а так.... |
|
валентин-сибиряк
Фанат форума
Сообщения: 9037
|
|
vadim3008
Мастер Добрых Дел
Сообщения: 5819
|
Как всегда,ремонт начинаем, с замены процессора!  |
|
|
perdus
|
| ALEGA писал: | | Непропаи , микротрещины ,+В ,ТМС не в обриве? Стань тестером на проц. HOUT при on -off пультом напряжение меняется?,но лучше осликом, если мастер то купи,а так.... |
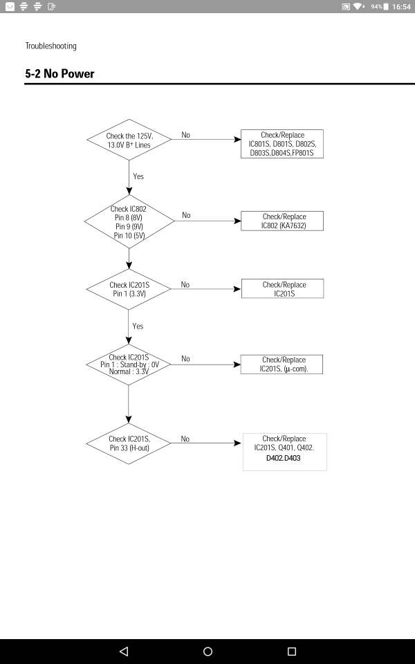
Прошёл алгоритм и упёрся в несоответствие напряжения на пин 1. ТМС, конечно, не выпаивал, но так нормально звонится. По алгоритму до пин 33 (HOUT) дело не доходит.
ДОБАВЛЕНО 23/09/2018 17:10
| валентин-сибиряк писал: | | perdus, сколько +В? |
Само собой, с этого начинал. Там норма, 13.5 и 130 В.
1537710967187636.jpg 30.92 КБ Скачано: 247 раз(а)
|
|
ALEGA
Завсегдатай
Сообщения: 502
|
| "1 пине процессора устанавливается 5в " твои слова ,а дальше нет строки ,кадров и процессор отправляет телик спать.Наверное так а может и нет. |
|
Yuritsh
Фанат форума
Сообщения: 18498
|
| perdus писал: | | Прошёл алгоритм и упёрся | Кроме хождения по алгоритмам, есть какой нибудь опыт ремонта ТВ? Или решил просто на мастере сэкономить?
| perdus писал: | | Процессор мёртв? | Чем "круче" "мастер", тем чаще у него процессор мёртв. |
|
|
perdus
|
| ALEGA писал: | | "1 пине процессора устанавливается 5в " твои слова ,а дальше нет строки ,кадров и процессор отправляет телик спать.Наверное так а может и нет. |
Если не лень, посмотрите алгоритм поиска, он из мануала. В прикрепленных файлах.Там 5 вольт быть не должно никогда. В норме ON 3.3v, OFF 0v. У меня ON при полном отсутсвии признаков работы 5в. Несколько минут стоит, срабатывает автовыключение, на пин 1 устанавливается ноль, на выключенном так и должно быть. Пульта нет, но кнопками переключения канало его можно "включить", все включение выражается только в том, что на пин 1 снова появляется 5в. Здесь я и зарылся. Из обвеса стабилитроны и диоды не выпаивая прозвонил, резисторы так же, то есть кое как, ничего вопиюще пробитого и оборванного не увидел и написал сюда, может, у кого такое было. Приговорить процессор в моём случае = приговорить телевизор. Дорого и много работы.
ДОБАВЛЕНО 24/09/2018 00:21
| Yuritsh писал: | | perdus писал: | | Прошёл алгоритм и упёрся | кроме хождения по алгоритмам, есть какой нибудь опыт ремонта ТВ? Или решил просто на мастере сэкономить?
| perdus писал: | | Процессор мёртв? | Чем "круче" "мастер", тем чаще у него процессор мёртв. |
Опыт не большой. Пьянь тащит с помойки или из дома поломанные кинескопники, сдает в лом, если вид пристойный я пытаюсь ремонтировать и чаще всего справляюсь. Потом продаю. С неисправным процем впервые столкнулся. По режиму выходит, что проц, или я чего-то не знаю. |
|
Yuritsh
Фанат форума
Сообщения: 18498
|
| perdus писал: | | Если не лень, посмотрите алгоритм поиска, он из мануала. В прикрепленных файлах.Там 5 вольт быть не должно никогда. В норме ON 3.3v, OFF 0v. | Ты думаешь мастера по этим сомнительным алгоритмам ремонтируют? Окстись. Всё это пролистывается не глядя.
В той схеме, что лежит у нас в обменнике, первый вывод подтянут через резистор к пяти Вольтам. Соответственно, они там и будут, когда ключ закрыт. Так что, отвяжись ты от первого вывода.
Лучше бы поискал на форуме темы с типовухами этого, и подобных ему, шасси. |
|
|
perdus
|
| Yuritsh писал: | | perdus писал: | | Если не лень, посмотрите алгоритм поиска, он из мануала. В прикрепленных файлах.Там 5 вольт быть не должно никогда. В норме ON 3.3v, OFF 0v. | Ты думаешь мастера по этим сомнительным алгоритмам ремонтируют? Окстись. Всё это пролистывается не глядя.
В той схеме, что лежит у нас в обменнике, первый вывод подтянут через резистор к пяти Вольтам. Соответственно, они там и будут, когда ключ закрыт. Так что, отвяжись ты от первого вывода. |
Мастера эти алгоритмы давно усвоили и не замечают.
Открытие! У меня q802 нет! Как нет tl 431, оптопары и много чего ещё. Этого я вообще не заметил. Схема блока питания не та и неудачно в мануале разрублена. Блок питания такой здесь есть, но нет того, что там у меня вместо q802. Надо по дорожкам смотреть. Долго, нудно и не сегодня. |
|
ALEGA
Завсегдатай
Сообщения: 502
|
| perdus, Отстань от БП , ТМС оборван ,озвучь напряжение на коллекторе Q402. |
|
|
perdus
|
| ALEGA писал: | | perdus, Отстань от БП , ТМС оборван ,озвучь напряжение на коллекторе Q402. |
0 там, а на другом конце катушки питание. Я лох. Пальцем показали деталь. Связь с 5в. на 1 пине проца мне непостижима, но катушка оборвана.
Прошу прощения за наглость, и так помогли. Вместо этого ТМС туда можно впаивать от телевизора с подобным Q402 транзистором? |
|
ALEGA
Завсегдатай
Сообщения: 502
|
| Вместо этого ТМС туда можно впаивать от телевизора с подобным Q402 транзистором?ОТВЕТ:] Курить и курить форум ,так все запущено ,определяющее не транзистор а напряжение питание ТМСа. Под лупой аккуратно выпаянный родной ТМС оборван возле пайки ,зачищаем, одной тонкой жилой запаиваем.Ну на крайняк и перемотать не трудно. |
|
Yuritsh
Фанат форума
Сообщения: 18498
|
| perdus писал: | | Связь с 5в. на 1 пине проца мне непостижима | Возможно, твои глаза не воспринимают красный цвет, на всякий случай продублировал зелёным.
1537673970609326.jpg 82.81 КБ Скачано: 262 раз(а)
|
|

|