| Автор | Сообщение |
|
0du14ik
|
Телевизор Patriot
Шасси: JM-2118P
Процессор: TDA9341PS/N3/A/1999
Тюнер: EWE-5053-V8
Звук: AN17823A
Микросхема развёртки: LA78040
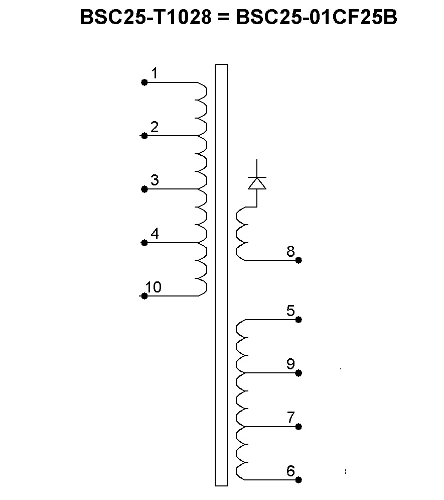
ТДКС : BSC25-t1028
Телевизор достался после грозы, решил на нём попрактиковаться.
Заменил предохранитель (временно поставил лампу накаливания), диодный мост в БП, высоковольтные керамические конденсаторы (были трещины), NTC.
Замерял напряжения, (по схеме - по факту):
12В - 9,7В
13В - 10В
5В - 5В
24В - 26В
3,3В - 3,6В
110В - 112В
Вопрос 1: В допустимых ли нормах отклонено напряжение?
Вопрос 2: Был вопрос по D1651C, между его базой и эмиттером, посмотрел даташит, должно быть 50 Ом, у меня 68 Ом. Это нормально?
Вопрос 3: По ТДКС (BSC25-t1028). Звонятся между собой ножки: 1, 2, 3, 4, 10. Так же звонятся между собой 5,6,7,9. Ножка 8 висит в воздухе. Правильно ли я понимаю, что в ТДКС межвитковое КЗ? |
|
Valeriynew
Передовик
Сообщения: 1792
|
1. Напряжения в норме. Два первых немного занижены, но если посмотреть схему, то первое - питание звуковой микросхемы (3,5-13,5 В), из второго формируется 5 В.
2. Транзистор рабочий? Если рабочий, то разница сопротивления не очень существенна. Возможно еще и тестер неправильно показывает.
3. Вот распиновка данного ТДКС (фото)
ДОБАВЛЕНО 05/03/2021 03:00
4. Профиль нужно бы заполнить.
BSC25-T1028.jpg 87.81 КБ Скачано: 280 раз(а)
|
|
валентин-сибиряк
Фанат форума
Сообщения: 9055
|
| 0du14ik, пробуй включать без предохр.лампочки.Опять замеры,как реагирует на вкл. рабочего режима и т.д. |
|
Tipelo
Передовик
Сообщения: 1032
|
| Лампа сколько ват в место предохранителя? При включении вспыхивает? |
|
SASHATOD
Фанат форума
Сообщения: 9885
|
| Я шо то недопонял как аппарат себя ведёт? |
|
|
БВК-
|
И в результате успешных телодвижений с БП окажется дохлый проц  |
|
|
0du14ik
|
| Valeriynew писал: | | 2. Транзистор рабочий? |
Рабочий, за схему ТДКС благодарность.
| валентин-сибиряк писал: | | 0du14ik, пробуй включать без предохр.лампочки.Опять замеры,как реагирует на вкл. рабочего режима и т.д. |
Попробую на этих выходных и отпишусь. Плату забрал, а телевизор нет.
| Tipelo писал: | | Лампа сколько ват в место предохранителя? При включении вспыхивает? |
После замены диодов, высоковольтных керамических конденсаторов и NTC, была лампа на 75Вт. При включении телевизора без подключения кинескопа к материнской плате, лампа вспыхивала и чуть светилась нить накала. После подключения кинескопа к материнской плате, нить накала начала гореть постоянно.
Забрал плату домой, дома подключил через лампу 150Вт, лампа не вспыхивает. На выходных подключу к телевизору и проверю с подключенным кинескопом.
| SASHATOD писал: | | Я шо то недопонял как аппарат себя ведёт? |
После того, как забрал плату домой, заменил сгоревште детали, детально осмотрел остольные компоненты на целосность. На выходных буду подключать к телевизору и смотреть.
| БВК- писал: | И в результате успешных телодвижений с БП окажется дохлый проц  |
Зато будет опыт и практика. |
|
STIPLER
Халтурщик
Сообщения: 5865
|
| SASHATOD писал: | | Я шо то недопонял как аппарат себя ведёт? |
ТС читать не умеет, дурака включает.
0du14ik, Погоды у вас какие стоят, одуванчики цветут ли? |
|
SASHATOD
Фанат форума
Сообщения: 9885
|
0du14ik, | Цитата: | | Телевизор достался после грозы, решил на нём попрактиковаться. |
| Цитата: | | После того, как забрал плату домой |
Шо то не то,вам не кажется??????
Что не тема то шедевр  |
|
|
0du14ik
|
Шо может быть не то?
Телевизор сгорел в селе у родственников, привезли к родителям на посёлок. Я живу в городе. На посёлке первично осмотрел плату и решил её забрать в город, там я живу, там всё моё оборудование и детали. Заменил детали, сделал замеры по напряжению. Возникли сомнения про D1651C и ТДКС. Создал тему что бы спросить про это, заодно и про другие вопросы, которые могут возникнуть при ремонте. На выходные поеду к родителям и там будет телик, который отдали для набирания опыта. Поставлю плату, включу, сделаю замеры. Как себя может вести телевизор после грозы, когда часть деталей в БП сгорело?
Что тут может быть не так? Где, кто включает дурака? Какая разница что за погода? Это конструктивная помощь и советы? |
|
непоседа
Передовик
Сообщения: 1939
|
| Мужик ты откуда,может по гороскопу тебе не светит в положительном результате,на этой территории.А для начала раздели проблему надо столько а его нет.Мужики не отвлекаемся нас ждут женщины а не пацаны без имени. |
|
SASHATOD
Фанат форума
Сообщения: 9885
|
непоседа, Дима,как оно себе ничего?
А вижу, на бабушек потянуло  |
|
непоседа
Передовик
Сообщения: 1939
|
Привет Сань,так они тоже тянутся быть чуть моложе как и мы Доверия к ним больше чем ....... . |
|
|
0du14ik
|
Подключил плату к телевизору. Вместо предохранителя лампочка на 150Вт. При включении, лампочка где-то около 2-х секунд горела ярче, затем слабо светилась нить накала. Включил кнопку питания, включил тв с пульта, телевизор включился, но с зелёным фоном. Так же сверху и внизу, заметны какие-то оранжевые пятна на экране.
Замерил напряжения, (должно быть - по факту):
3,3 - 3, 6
12 - 12,4
13 - 11
5 - 5,2
8 - 7,93
24 - 22,7
110 - 111
Подключил Т2 приставку к RCA входу - телевизор не видит приставку.
Подключил антенну к встроенному в тв тюнеру, для поиска каналов в аналоговом вещании.
Нашёл пару каналов, картинка без синего цвета, звук присутствует.
Проработав так где-то 10 минут, по бокам волнисто искажаются края видео.
Затем, изображение начало тухнуть и вновь появляться. Как только лампочка - предохранитель начинает ярче светится, картинка пропадает, затем тускло горит нить накала - картинка появляется. Вновь, лампа ярко горит - картинка тухнет, так по кругу.
На первом видео, включение телевизора: https://youtu.be/UMzXLEvsQ08
На втором видео - неисправность с миганием изображения: https://youtu.be/-Jvy5_5xD2Y
P.S. Закадровая звуковая дорожка про рыбалку звучит с другого телевизора.
| WP_20210308_19_34_33_Pro.jpg |
| Описание: |
|
| Размер файла: |
289.01 КБ |
| Просмотрено: |
217 раз(а) |

|
| WP_20210308_19_56_18_Pro.jpg |
| Описание: |
|
| Размер файла: |
398.08 КБ |
| Просмотрено: |
314 раз(а) |

|
|
|
Boris Gorbunkov
Семён Семёныч
Сообщения: 7529
|
| Выкинь нахрен лампочку и позистор поменяй. |
|
|
0du14ik
|
| Борис Горбунков писал: | | Выкинь нахрен лампочку и позистор поменяй. |
Ok |
|
SASHATOD
Фанат форума
Сообщения: 9885
|
Борис Горбунков, В былые времена за такие вопросы 0du14ik, давно бы слили в унитаз.
Господа,а в этом разделе смотрящий имеется? |
|
Boris Gorbunkov
Семён Семёныч
Сообщения: 7529
|
| SASHATOD писал: | | а в этом разделе смотрящий имеется? | Нету никого ИХМО.
Юрич-злой http://monitor.espec.ws/users/46652.html был - всех кудакопателей быстро сливал.
Потом сам слился. Видать надоело ему здесь гавно чужое разгребать...
ДОБАВЛЕНО 09/03/2021 23:32
А чо тут смотреть-то - раздел подыхает потихоньку...  |
|
SASHATOD
Фанат форума
Сообщения: 9885
|
Борис Горбунков, Игорь,баранку крутит  |
|
|
0du14ik
|
| SASHATOD писал: | Борис Горбунков, В былые времена за такие вопросы 0du14ik, давно бы слили в унитаз.
Господа,а в этом разделе смотрящий имеется? |
Былые времена остались в книге по истории. |
|