| Автор | Сообщение |
|
kohman2
|
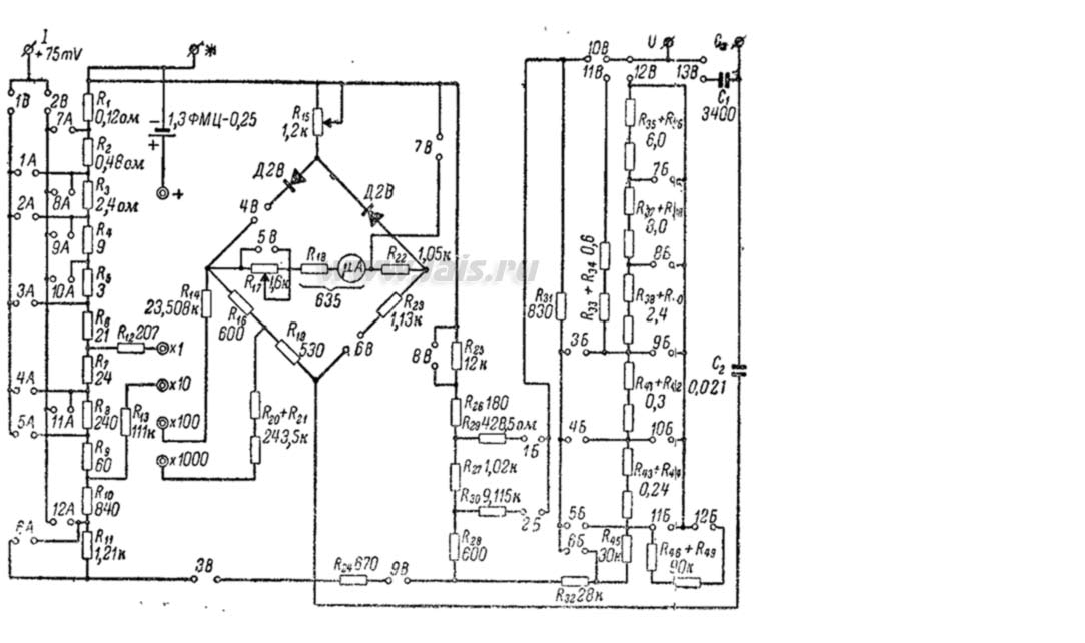
Всем привет!Слава Україні!
Ищу принципиальную схему прибора(тестера советского)Ц57,сасибо за помощь! |
|
skolin
Передовик
Сообщения: 1210
|
|
|
kohman2
|
| skolin писал: | | https://fixmag.ru/download/1297452675_c-57.pdf эта ссылка говорит о том что не искал, а сразу вытянул руки. |
Искал!Просто российские сайты в Украине заблокированы!Так что для меня эта ссылка неработает.
Нашел схему, но очень плохого качества, на фото |
|
igme
Передовик
Сообщения: 1126
|
| VPN? SoftEther - отличная вещь, сам давно пользую... |
|
skolin
Передовик
Сообщения: 1210
|
| kohman2 писал: | Так что для меня эта ссылка неработает.
Нашел схему, но очень плохого качества, на фото |
Печалька
| .png |
| Описание: |
|
| Размер файла: |
322.43 КБ |
| Просмотрено: |
625 раз(а) |

|
|
|
|
kohman2
|
| skolin, Большое спасибо!!! |
|