| Автор | Сообщение |
|
Shura-z
|
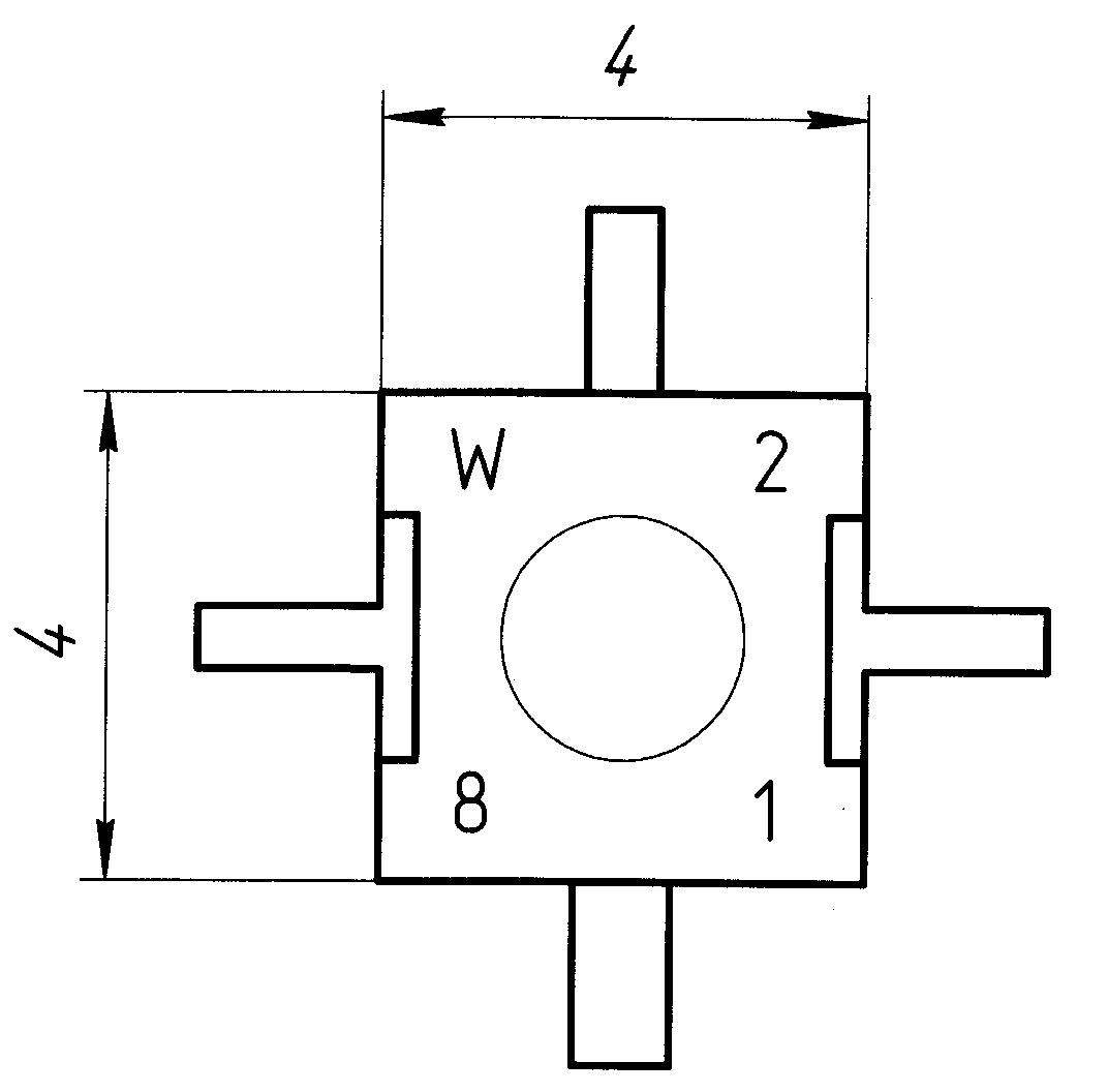
В радиочастотном усилителе мощности (3-5 Вт, 1542 МГц) установлены мощные полевые транзисторы (?) c маркировкой на корпусе в верхней части W 2, а в нижней 8 1. Перерыл все доступные мне справочники, но так и не смог определить тип корпуса (4х4х0.8 мм, с каждой стороны по 1 выводу). По маркировке, тоже ничего вразумительного не нашёл. Транзисторы вроде исправные. Мультиметром не прозваниваются, но в рабочем режиме "разумно" греются.
Помогите пожалуста определить название этих транзисторов.
P.S. Изделие Дания, но привезено из Малайзии.
Корпус транзистора.jpg 54.1 КБ Скачано: 352 раз(а)
|
|
KRAB
Распугиватель клиентов
Сообщения: 21704
|
- запятую не пропустил? 1,542 ГГц ?!?!
| Shura-z писал: | | в рабочем режиме "разумно" греются. | - значит работают ... или возбуждение в каскаде.  |
|
|
Shura-z
|
| Запятую не пропустил. Всё верно. Транзисторы исправы. Задача заключается в определении названия этих транзисторов. |
|
KRAB
Распугиватель клиентов
Сообщения: 21704
|
| Не такой полевик FLU17ZM по корпусу или из этой серии ?! |
|
|
Shura-z
|
| Посмотрел. Не оно. Этот в белом корпусе (похоже керамика) и размер 4х3х1, а в моём варианте корпус чёрный 4х4х0.8 мм. |
|