| Автор | Сообщение |
kin369
Завсегдатай
Сообщения: 910
|
| Borg писал: | | прошить это чудо!? | ___С телепатами в теме не очень. |
|
|
Borg
|
| kin369 писал: | | Borg писал: | | прошить это чудо!? | ___С телепатами в теме не очень. |
программатор постал 3 |
|
|
space2019
|
| Postal2 писал: | hacjka, проект не коммерческий - открыто всё, вплоть до исходников.
atmicandr, насколько я знаю, платы заказываются большими партиями. Для следующих будет доразведён ИК-диод для эмуляции ДУ, но его можно просто в панельку вставлять. Общий вид останется без изменений, больше ничего добавляться на основную плату девайса не будет. Эмулятор ДУ у меня уже работает, но нужно доделать. PIC-контроллеры жду, когда кто-нибудь тестить начнёт (LPT-вариант в первую очередь).
Sergej, если инфу по девайсу скрывать - везде увидишь понипрог как верх совершенства. А если инфа открыта - это мотивирует людей сделать что-нибудь получше, а не помойку разную свою рекламировать. |
hi source code link ?? |
|
|
Oleg20111966
|
| armagon писал: | | просто опупеть! сегодня прошил проц micronas VCT6973G + ch341a + postal3 | Я сам афигел, когда после прошивки тв заработал, только зачем был нужен CH341A? Я одним постал3 прошил... |
|
|
Postal2
|
| space2019 писал: | | hi source code link ?? |
Every stupid dude wants to look like big brain by using special words like "source code". |
|
REKKA
Фанат форума
Сообщения: 3722
|
| -только зачем был нужен CH341A?-Ним хорошо читать флешь( сразу видишь содержимое) , а в Постале содержимое в формате bin еще надо через программы "крутить " У меня например ,в работе тот и тот Я уже привык Одним я читаю другим пишу .Так как CH341 не всегда нормально пишет |
|
pion
Передовик
Сообщения: 1602
|
| Oleg20111966 писал: | | Я сам афигел, когда после прошивки тв заработал, только зачем был нужен CH341A? Я одним постал3 прошил... |
CH341A работает с софтом Postal 3 и шьёт VCT. |
|
STARMEX
Завсегдатай
Сообщения: 907
|
| Долго не пользовался постал3. Стал прошивать 25Q32 выдаёт ошибку https://skr.sh/sBIEewvkH5C Что не так не пойму. Может у прога прошивка слетела? |
|
birluk
Передовик
Сообщения: 2209
|
|
|
alim-ulu
|
Здравствуйте. Возможно ли с помощью постал 3 или постал 2 ,в icp 25q40 выставлять Status Register
ДОБАВЛЕНО 11/04/2022 17:17
как на пример в Софт Colibri для программатора на CH341A |
|
|
Postal2
|
| alim-ulu писал: | | 25q40 выставлять Status Register |
Зайдите в Settings, выберите "All Clear", нажмите "Quad". Если ваше устройство требует для старта quad-bit, а в логе сообщение, что он выключен - нажмите "Quad" ещё раз. Некоторые телевизоры требуют установленного бита "CMP", в этом случае нужно дополнительно выполнить обновление с usb (иначе не сохраняет настройки). Также во всех случаях для таких телевизоров помогал сброс из пользовательского меню (без всяких сервисных скрытых меню), необходимости обновлять - ни разу не замечено.
Побитного управления статус-регистром нет, это будет сделано в виде поддержки скриптов, которые крайне необходимы для работы с eMMC, но будут использоваться и для spi также. |
|
|
alim-ulu
|
|
|
Postal2
|
| alim-ulu писал: | | В моем случае |
Да, здесь нужно биты Quad и CMP. Установите бит Quad как написано выше, и после старта телевизора выполните сброс "на заводские значения" из пользовательского меню. Больше ничего не нужно.
По вашей ссылке как раз показано, как возможность побитной записи статуса помогает испортить микросхему. Если ничего полезного, кроме как что-то испортить, эта функция не несёт, то зачем она нужна? |
|
|
hcm
|
| Pic12f1840 можно добавить или каким его другим в списке подменить можно? |
|
|
Postal2
|
| Добавить PIC можно, это будет делаться по окончании других шагов. Как показала практика, другие типы не подобрать. Чтобы не ждать, рекомендую приобрести PICkit 3 и использовать совместно с MPLAB IDE v8.92. Там не очень интуитивно-понятное управление, но я советую разобраться и крайне рекомендую эту связку. |
|
|
nafanyak71
|
Здравствуйте!
Кто-та устанавливал Postal3 windows 10 64 bit. Перебрал кучу драйверов CP210x виртуальный сом порт не создается. |
|
|
Postal2
|
| nafanyak71 писал: | | CP210x виртуальный сом порт не создается. |
В перечне устройств должен быть "usbXpress device". |
|
|
Valer79
|
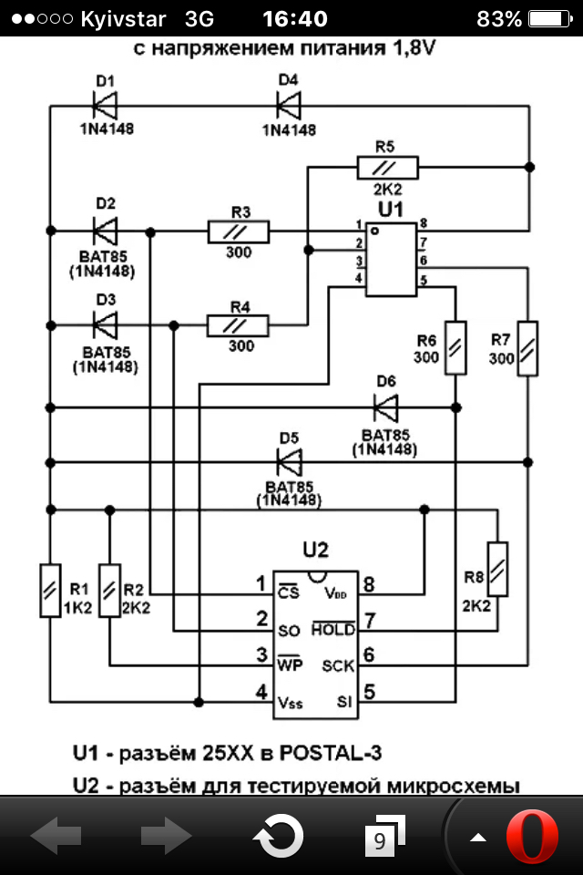
Сдравствуйте. Скажите или реально аозможно прошивка spi 25q64 что на 1,8 в програмой постал2 через лпт без випайки так как пробоемно випаять в корпусе wson8 . Сделал адаптер на 1,8в спаял все навесом флешка определилась первий раз прочиталась нормально с нормальной сверкой и дампом. При новой записи и другим файлом записалась ок но при сверке ошибка и повторная считка тоже ошибка. Можете показать в настройках какие должни бить виставлени точно как для лпт порта и в меню и spi ? И по сх адаптера на 1.8в питание отдельно и стоят кондери 100нф 1мкф и полярний на 22мкф еср и в-лос норма. Но спаял по входу в 2ноги флешки без подтяжки диода что на масу на других сх что прилагаю фото он идет или должн бить там или нет?
| 229af7e31fc5ba82b4369e4021836bcc.jpg |
| Описание: |
|
| Размер файла: |
210.15 КБ |
| Просмотрено: |
193 раз(а) |

|
e814024d891e7b40f436509d25cfbb9f.jpg 183.78 КБ Скачано: 143 раз(а)
|
|
|
Postal2
|
|
|
darinyou
|
всем привет
любая инструкция по ИК разделу на postal2
Спасибо |
|