| Автор | Сообщение |
-20 dB
Фанат форума
Сообщения: 7674
|
| Strike писал: | | Demeen писал: | | Кстатии, так никто и не объяснил про несколько катушек подключенных последовательно через диоды.... |
катушка-диод-катушка.... |
Demeen, поверь,оно тебе не надо. Тут:
http://monitor.espec.ws/section14/topic137376p152.html
великие теоретики резонансных явлений в FBT (ТДКС) друг другу горло перегрызли с этими секциями и развязками. Хочешь стать знатоком тайны третьей гармоники строчной развёртки? Ну, если интересно, конечно... Strike там тоже руку приложил, может, он тебе высокий смысл этих резонансов растолкует, а я вконец запутался пытаясь эти дебаты прочесть. Да и не надо оно в твоём случае - у тебя нет строчной развёртки а стало быть и её третьей гармоники.
Далее. По отключению ОС по напряжению в ИИП - во вторичной цепи убираются ВСЕ элементы контроля напряжения (остаётся только вторичная обмотка иранса и диод - в твоём случае вместо диода будет стоять умножитель), выкидывается нафиг оптрон, 4-я нога тиньки (EN/UV) через конденсатор садится на общий провод. У TOP'а сажать уже ничего и никуда не надо - у него CONTROL и так уже через R3C5 на общем проводе сидит.
Кстати, путёвых зарядников для телефонов это тоже касается - у меня их два. Китайский сторублёвый не имеет контроля выходного напряжения, а вот оригинальный мотороловский имеет...
Другое дело, что наверное в любом случае имеет смысл выкинуть сетевой мост (увеличение пульсаций питающего напряжения в твоём случае абсолютно по барабану, а с учётом малой потребляемой мощности и их легко компенсировать увеличением ёмкости конденсатора сетевого фильтра), и впихнуть вместо него однополупериодный выпрямитель - чтобы общий провод непосредственно "заземлялся" на нулевой провод сети, как в той схеме, что ты приводил в самом начале, иначе минус высоковольтной части окажется подключен к земле через диоды нижних полуплеч моста, а так как они под такие напряжения абсолютно не заточены, последствия могут быть...
Диоды на выходе - ну,если у тебя есть варианты... Но я на 10 кВ только советские КЦ105, КЦ106 и КЦ201 на 15 кВ знаю... Именно исходя из параметров КЦ106 я и рассчитывал число ступеней умножителя и выходное напряжение трансформатора. Затем перерасчитывал для привязки к готовым промышленным умножителям, но там нет вариантов - либо 6 ступеней, либо 12, вот исходя из 12 ступеней и считал (при 6-и, то есть с одним умножителем, диоды (а там стоят те же КЦ106, только залитые в компаунд) и конденсаторы оказываются далеко за режимом при попытке получить 90 кВ на выходе. У тебя есть варианты замены КЦ106 импортными аналогами? Давай марку, рассмотрим.
ДОБАВЛЕНО 13/07/2010 3:09 AM
Извиняюсь, подредактировал твой пост - оформил цитаты... |
|
elgen
Фанат форума
Сообщения: 15960
|
| -20 dB писал: | | elgen, m.ix, на кой вам фуй эта 494 далась? Я же предупреждал - этак мы коллайдер тут построим! К чему лишние сложности? Вам стабилизация выходного напряжения нужна? Дык как "отобрать" образцовое напряжение с 90 кВ - это изрядно репу почесать надо. К чему огород городить там, где простой блокинг катит? Ну, не охота блокинг - есть TOPSwitch и TinySwitch - три детали завсегда проще, чем тридцать. К тому же неубиваемостью TOP'ок я просто восхищён! Правда, тут тинька более в тему... Ес-сно, ОС по напряжению выкинуть к чертям надо будет... |
Ром, так ведь проще выйдет, как раз на мелкосхемке. Минимум обвязки. Более современная схемотехника. итд.
С топами и тинками хорошо. Близко. Но было что то более подходящее. Вот крутится, даже общий вид даташита . а названия хоть убей.Используется, как раз для подобных в принципе вещей. Питание не сетевое.из обвязки 2 или три резистора и пара кондеров. ну и транс.Ладно. уже не важно. Я может год буду вспоминать где видел и как зовут. Видел то мельком и просто себе отметил., мол где же ты раньше былО.
Вообще считаю так. Разбить устройство на 2 части, по напруге. И делать начиная с самого простого и доступного . Потом при желании всегда можно сделать дугой генератор. умножительная часть от того не изменится.
Кстати насчет катушек ты абсолютно прав. Сделать самому качественную вторичку для всоковольтки не так то просто. Потому обычно в самоделках и предлагается использовать готовые катушки от ТВСов. Намотать то недолго, но качество...Пропитку...
Цапон лак. парафин...Идея отдавать в намотку куда то, вряд ли получит поддержку..(мою нет точно)
Лучше брать готовое и строить схему под него..
И под готовые катушки с родным/близким сердечником почти не надо считать. Все в общем посчитано до нас.
Между прочим речь не только об изоляции для транса. Это пол беды. В случае самодельного умножителя, придется попотеть с ним.Я бы вообще чем залил. тем же парафином хоть. А то влажность воздуха меняется. конденсат. итп. На фиг. На практике знаю. как оно все шьет, да и коронный разряд будет , ну его.
Demeen, лучше брать готовые умножители. пусть и старые советские( они еще продаются). это надежнее и меньше по размеру, чем любое собранное из самых современных деталей. Тут вопрос технологии самой сборки и материалов.
То же в принципе касается и вторички траннса несколько в меньшей степени. Я бы сам использовал что то от ТВ, или медтехники а что ... видимо перебрав свои завалы решил, само бы попросилось. Не обязательно от русских тв. ( к ним просто доступнее) .Был и импорт подходящий. Даже очень. Но это купить нереально или слишком затратно.
В общем в во многих конструкциях вторичка от твс . На ней лучше и остановиться по моему.
| -20 dB писал: | Гы! ГениТальная идея появилась... А чо вапче с питателем-то огород городить? Китайский зарядник для сотового 100 рублёв стОит! Транс - поставить новый (тем более, Demeen,'у не лень самому намотать), выпрямитель заменить на однополупериодный (кстати, приведённых схем на TOP и Tiny это тоже касается - иначе два полуплеча сетевого моста оказываются под потенциалом выходного напряжения, на что они явно не расчитаны), умножитель на выход и карты в руки!
|
Ром, Не обязательно зарядку, любой простой импульсник из какого то устройства. Подходящий по мощности В принципе можно. Но может быть проблема со сменой транса. БП все же рассчитаны под характеристики своего транса с определенной индуктивностью с резонансами с родным магнитопроводом итд. Китай то он Китай, но китайцы тоже не дураки. Правда если нельзя сменить транс, то кто запретил брать выход с его вторички и тупо гнать на первичку высоковольтного. ... Идиотизм конечно, но .. В общем отсутствие точного расчета , как всегда можно перекрыть запасом по мощности.
Копать сам БП и подгонять под новый транс не особо разумно. Проще собрать с нуля на его основе.
Блин, теперь я подумал и .. в общем скоро договоримся до МП3 Чего только из бедолаги не делали.
А у меня и того бредовее, В основе Салоровская строчная и БП ...Ну та, где тпи и строчник на одном сердечнике. Очень простая., но жутко капризная из за керамической сборки. Нет, пора останавливаться. |
|
|
Demeen
|
поступила ещё одна схемка..... уже попроще без нагромождения элементов, что скажете?
flokator.JPG 24.18 КБ Скачано: 4103 раз(а)
|
|
m.ix
Master Mixa
Сообщения: 1972+
|
| в место динисторов кн102 можно использовать DB3 |
|
-20 dB
Фанат форума
Сообщения: 7674
|
Demeen, последовательное соединение динисторов - не самый надёжный способ их включения, тогда уж лучше та схема, что ты в начале привёл - в смысле, управление на ОПТ.
Насчёт сомнений по применению выпрямительного моста по сети и целесообразности его замены на однополупериодный выпрямитель я выше писал.
А в остальном - дык ведь кроме замены ОПТ на динисторы, она ничем от первой не отличается, разве что конденсатор фильтра питания исключён, и теперь в надёжном закрывании тиристора я нисколько не сомневаюсь.
Теперь - по поводу умножителя... Опять же к каждому конденсатору с допустимым напряжением 30 кВ прикладывается 50 (!) кВ. Может, и выдержат, но лично я бы не рискнул при своих без малого 60 кг страховаться верёвкой, на которой написано "допустимая нагрузка 30 кг". А на 50 кВ кондёры я только два года видел - в сапогах и спецовке цвета хаки работая... И потом - с габаритами при самостоятельной сборке умножителя, как мы с Геной уже вывод сделали, получится проигрыш по сравнению с телевизионными УН. |
|
|
Demeen
|
| -20 dB писал: | Demeen, последовательное соединение динисторов - не самый надёжный способ их включения, тогда уж лучше та схема, что ты в начале привёл - в смысле, управление на ОПТ.
А в остальном - дык ведь кроме замены ОПТ на динисторы, она ничем от первой не отличается, разве что конденсатор фильтра питания исключён, и теперь в надёжном закрывании тиристора я нисколько не сомневаюсь.
. |
Так сомневаетесь в закрытии или нет? вот в чем вопрос .... как и подача напряжения, её можно уменьшить и просто добавить ступени умножителя...
хорошо, вы меня уговорили на то, что не стоит играть с размерами, пусть будет так как описано, включая катушку зажигания, но всё же....
возникает вопрос - каким проводом вести всё это счастье? если катушку зажигания можно вставить в трубу возле непосредственно ёмкости с пылью, ой , флоком... то туда умножитель уже не запихнуть, а это значит что толстенный провод, правда не знаю какой, поенный мне точно недстать...
есть ещё какие либо предложения? |
|
-20 dB
Фанат форума
Сообщения: 7674
|
Demeen, в последней схеме в надёжности ЗАКРЫВАНИЯ транзистора я нисколько не сомневаюсь - в нём нет ннакопительного конденсатора фильтра (того, который 50 мк на первой схеме) тот же, который стоит в этой схеме (0,1 мк х 400 В) можно назвать максимум помехоподавляющим, он будет успевать надёжно разряжаться в "провале" между полупериодами, ток тиристора будет падать ниже тока удержания, и он будет вполне надёжно запираться. В этой схеме я больше беспокоюсь за надёжность ОТКРЫВАНИЯ тиристора. Каждый из трёх включенных динисторов в ней включен, по сути, через обрыв - бесконечно большое сопротивление других запертых динисторов., и соответственно при ИДЕАЛЬНЫХ динисторах вообще никогда не откроется. С другой стороны, параметры динисторов неидеальны - они имеют токи утечек, и напряжение на отдельных динисторах цепочки таки присутствовать будет, но... пропорционально токам утечек, которые не нормируются и могут отличаться весьма существенно. В результате, если, например, попадут один "текучий" динистор, один - нормальный и один хороший, с малыми утечками, может получиться интересная картина - почти всё приложенное к закрытой цепочке цепочке напряжение окажется приложено к одному (хорошему) динистору, и при достижении напряжения его открывания (для КН102Г 50...56 В), он откроется, и всё напряжение окажется приложено к цепочке из двух оставшихся динисторов, а точнее - к одному... тому, у которого ток утечки меньше... А значит, он тут же откроется тоже! А теперь под напряжением открывания останется всего один динистор. И что ему делать? Правильно, открываться! Итого, на разобранном примере вместо расчётных 150 В цепочка у нас "отработала" при напряжении открывания одного динистора. А зачем тогда было её ставить? Ну, на самом деле, ТАКИХ разбросов тока утечек не бывает, но подобрать три динистора с разбросом утечек для открывания в 70 В можно легко... Мало того, токи утечек ещё и очень термозависимы.
Как вариант, можно применить или один динистор КН102И, или поставить параллельно каждому динистору в цепочке выравнивающий резистор (ну, килоом 50-100, главное, чтобы тиристор не открывался через эту цепочку резисторов самостоятельно).
| m.ix писал: | | в место динисторов кн102 можно использовать DB3 |
Можно, тем более, что их сейчас купить или выломать из электронных балластов энергосберегаек в сотни раз проще, чем по музеям искать КН102. Однако, напряжение открывания DB3 - 28...32 В против 50...56В у КН102Г, а значит, и потребуется цепочка уже не из трёх, а из пяти динисторов. правда, учитывая их габариты, они впятером вместе с выравнивающими резисторами места займут меньше, чем 2 шт КН102.
По поводу провода... Ну да, проблематично. Выше по теме я предлагал использовать дополнительную изоляцию на штатном ВВ проводе умножителя, т.е использовать телевизионный высоковольтный провод в дополнительной изоляции, например, в пластиковой пневмотрубке. Однако найти телевизионный высоковольтный провод длиной больше 70 см вряд ли реально, а каждая спайка - дополнительный риск пробоя. В связи с этим у меня у самого два вопроса:
1) какова длина штанги флокатора, и
2) вопрос к автомобилистам - а продаётся ли "на метраж" провод зажигания? В том смысле, что в пневмотрубку, наверное, можно и его запихать...
ДОБАВЛЕНО 14/07/2010 0:24 AM
ЗЫ: и, кстати, между управляющим электродом тиристора и его катодом предусмотрительные люди обычно включают резистор 100 Ом...1 кОм для гарантированного закрывания тиристора и для обеспечения надёжности удержания тиристора в закрытом состоянии. |
|
|
Demeen
|
Спасибо, успокоили... теперь можно идти и начинать покупку комплектующих... УРА!
Длина шланга -провода больше 4-х метров, а вот по поводу провода на метраж - не знаю, но надо поспрашивать... |
|
elgen
Фанат форума
Сообщения: 15960
|
| Цитата: | | на 50 кВ кондёры я только два года видел |
У меня есть один, по размеру- стакан.
Насчет провода не знаю, одно время они наоборот у меня со старых умножителей просили. Изоляция лучше. Но высоковольтный провод можно и заказать. Продают их, как любые кабели.
Рекомендуется для безопасности что бы провод был с оплеткой соединенной с землей. Во всяком случае, все высоковольтное с чем имел дело и оно подразумевалось для взятия в руки. имело такие провода. Никогда заранее не знаешь, от чего изоляцию вдруг пробьет. Пусть уж бьет на оплетку. Если провод покупать,то естественно укладываясь в заданное напряжение.
Правда можно самому дополнительную изоляцию организовать. Но притом он полностью теряет всякую гибкость.
ДОБАВЛЕНО 07/14/2010 03:03
Да, провод можно добыть у медтехников, у них рентген, флюорография , все очень высоковольтное и обычно есть запас и бу и нового. |
|
|
Demeen
|
| Ребята - подскажите аналог тирристора Т132-50-12 , не понимаю зачем там аж 50 А и аж 1200 В. Пытался найти аналоги но токи меньше, ну и напряжения до 1000 в..... |
|
Strike
Фанат форума
Сообщения: 3812
|
|
|
Demeen
|
а про напруги и силу тока, кто то подскажет..... ???? зачем там так много?
"Strike" - Спасибо. Весь нет облазил - не нашёл.... |
|
Strike
Фанат форума
Сообщения: 3812
|
Demeen, В импульсе ток разряда конденсатора может достигать больших значений.
Кратковременно конечно, но видимо не зря нужен такой запас. |
|
|
Demeen
|
Долго и упорно пытался найти конденсаторы - но безуспешно, пришёл к выводу что можно увеличить количество плечей умножителя...
переделал немного предыдущую схему, мне надо что бы она питалась от 220 а не через транс от 600 вольт....
возникло пару вопросов:
1. Зачем там стоит R1 с мощностью 25 ватт? я его не могу найти, может его можно чем то заменить?
2. С3 - сглаживающий, С1 фильтрующий, С2 - задающий генератору частоту колебаний?
3. Правильно ли я заменил КН 102 Г на DB 3 ?
4. Умножитель в схеме судя по всему не совсем правильный, схему немного переделал на 20 плечей, что бы не париться по поводу высоковольтных конденсаторов.
5. Транс повышающий хочу всё таки намотать на феритовом стержне толщиной 10 мм , только возникает вопрос, а сколько ж витков делать для первички? что бы её не сожгло при первом же испытании. Идея намотки взята из шокера, только изоляция будет получше...
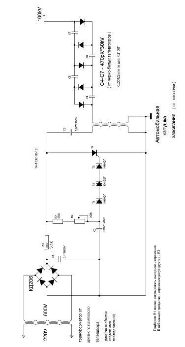
Флокатор.jpg 31.37 КБ Скачано: 3756 раз(а)
|
|
|
Demeen
|
| И ещё одно, посчитал емкость конденсаторов, у меня получилось 14 фарад..... - это не мало? |
|
-20 dB
Фанат форума
Сообщения: 7674
|
1) Ну, по поводу R1 в ЭТОЙ схеме - дело в том, что тиристор после открывания НЕ ЗАКРЫВАЕТСЯ, ПОКА ТОК ЧЕРЕЗ НЕГО НЕ УПАДЁТ НИЖЕ ТОКА НЕУДЕРЖАНИЯ, что и вызвало мои сомнения в работоспособности первой схемы (впрочем, если увеличить ёмкость С1 в этой схеме - я тоже усомнюсь). Предположим, что тиристор открылся, например, в первой четверти полупериода сети. Тогда заряженный накопительный конденсатор С3 (на схеме почему-то тоже С1), включенный последовательно с первичной обмоткой импульсного транса, разрядится через тиристор и обмотку, создав импульс тока через обмотку, что и требовалось. С этой частью проблем не возникает. Зато возникает хохма со второй частью. Открытый тиристор после разрядки С3 не закроется до окончания сетевого полупериода, поскольку будет удерживаться в открытом состоянии током через резистор R1. Таким образом, вплоть до окончания полупериода сетевого напряжения резистор R1 оказывается подключен к сети (выходу моста) через тиристор. Ес-сно, всё это время через резюк течёт весьма нехилый ток (в пике: 320/5,1=63 мА, что создаёт пиковую выделяемую мощность 320*0,063=20 Вт). Кстати, мощность эта кроме как на нагрев резистора не используется более ни на что, т.е тратится чисто на нагрев воздуха.
2) C1 - скорее, помехоподавляющий, сглаживает пики сетевого напряжения, не давая динисторной цепочке открыться раньше времени - сглаживающий конденсатор в этой схеме не только не нужен, но и вельми вреден есмь (см п.1 - при слаженном напряжении на выходе моста тиристор тупо не закроется!
С2 - фазосдвигающий, время его зарядки судя по номиналам подбирается резистором R3 таким образом, чтобы напряжение на конденсаторе, достаточное для открывания цепочки динисторов Т1-Т5 (около 150 В) достигалось при достижении напряжением сети пикового значения (для получения максимальной величины выходного напряжения. Таким образом, по мнению авторов схемы, регулируя резистором R3 момент открывания цепочки, можно в каких-то пределах регулировать выходное напряжение блока. Моё мнение, похоже, несколько отличается от мнения авторов схемы. Так как после достижения максимума сетевого напряжения конденсатор С3 уже один х заряжен до пикового напряжения сети, и до открывания тиристора разрядиться ему не через что, подгонять момент открывания к максимуму напряжения в сети не имеет смысла, зато имеет смысл подогнать этот момент максимально близко к окончанию полупериода сети. Тогда мощность, выделяемая на R1 значительно уменьшится. А резистором R3 регулировать задержку до максимального приближения к концу сетевого полупериода и минимального падения мощности на R3. Вообще-то, возможно, авторы так и рассчитывали, но при постоянной времени зарядки 3,6 мсек при полностью введённом R3, что-то навскидку (трудно посчитать точно при синусоидальной форме импульса) склоняет меня к мысли о подгонке к максимуму сети, а мощность R1 в 25 Вт дополнительно укрепляет меня в этой мысли...
С3 (на схеме почему-то снова С1) - накопительный, создаёт запас энергии, который при открывании тиристора отдаёт в обмотку транса.
3) Правильно, но, кстати, я уже выражал сомнения в устойчивости работы последовательно включенных динисторов вообще, а для обеспечения хоть какой-то устойчивости рекомендовал зашунтировать каждый динистор резистором хотя бы на 1 МОм, а управляющий электрод тиристора зашунтировать резистором 2,2...10 кОм - это ДОЛЖНО избавить от многих вопросов в дальнейшем. ДОЛЖНО - потому что при такой схемотехнике я что-то мало уверен, что избавит...
5) Первичную обмотку спалить вообще затруднительно - собственно, ток через неё идёт только во время разряда конденсатора C3. Провод желательно взять потолще по другой причине - чем толще провод, тем меньше будет активное сопротивление обмотки, тем более коротким будет сильноточный импульс через тиристор, тем больший ток создастся в обмотке в импульсе и больший КПД трансформатора достигнут. Типовой диаметр для подобных применений - 0,5...0,8 мм.
Число витков считается классическим образом, по соотношению числа витков (n1/n2=U1/U2, с учётом того, что U1 будет примерно равно 320 В) - если вторичная обмотка берётся какая-либо промышленная (лучший вариант - не надо париться с межслойной изоляцией), либо произвольно, желательно не меньше 10 витков, лучше - до заполнения магнитопровода по длине (тогда витки вторичной обмотки рассчитываются исходя из числа витков первички по той же формуле)
По увеличению числа плеч умножителя:
да если уменьшить выходное напряжение транса, и увеличить число плеч - почему бы и нет? Изрядно увеличив число плеч, умножитель можно запитать хоть от 220 В, и нафиг тот преобразователь (наполовину шутка: 90 000/320=282 плеча всего-то, зато ни с диодами, ни с кондёрами, ни со схемотехникой (в том числе потерями мощности на 25-и ваттных резисторах) никаких проблем - КД105ми скоро мостовые мостить будут, а кондёров на 350 В, правда, разных номиналов, у меня, например, ящик стоит). Единственная проблема - к монтажу умножителя предъявляются особо жёсткие требования (таки 90 кВ - не шутка), поэтому при увеличении числа плеч и занимать он будет места нешуточно. Предлагали же уже взять умножители от ТВ - в них и столбы, и конденсаторы уже есть. Вряд ли самодельный умножитель на "развесухе" удастся ужать до такого объёма.
По второму посту:
| Цитата: | | у меня получилось 14 фарад..... - это не мало? |
МАЛО?
14 фарад - это 14 МИЛЛИОНОВ микрофарад! Это ненаучная фантастика - мне бы пару таких кондёров, да киловольтика на 2, да чтоб они ещё и в карман влезли - я бы боевую стенобитную Гауссову пушку сварганил, и нафиг те флокаторы, писец Америке!
Поподробнее можно, откель и из каких расчётов такие цифры взялись? |
|
|
Demeen
|
расчеты проводил по формуле из описания работы
http://radiolub.chat.ru/IBP/umnojit.htm
И так, параметры расчетов:
UВых - 90кВ
UВх - 4 кВ
Ток - 0,01 А (хотя в последствии понял что много)
F- 50 Hz
количество плечей 20
По поводу умножителя - как и писал ранее - всё таки, промышленные от ТВ большие... по этой причине становиться невозможным их использовать, так и с кабелем проблемы - нету и всё.... Шутка хорошая. по поводу запитки с 220 до 100 кВ с количеством плечей 200 с лишним.... Поэтому всё таки и будет использован повышающий транс... правда я так и не понял, какое там будет напряжение на первичке?
Мне сила тока там вооще не нужна, так может взять на абум например 1000 мФк на 6,3 Кв.... и не париться, так как мощь там не нужна...
По поводу R1 да, я немного не успел его пересчитать - там получается если питать его от 220 а не от 600 то 2,2 кОм...
Можно всё таки схематически показать как их зашунтировать (динисторы) , так как я понял, паралельно каждому динистору нужно включить резистор, на 0,125 ватт хватит?
С3 - который я обозначил как С1 - да, мой бок.... сорри... но смысл ясен... |
|
-20 dB
Фанат форума
Сообщения: 7674
|
| Demeen писал: | По поводу умножителя - как и писал ранее - всё таки, промышленные от ТВ большие... по этой причине становиться невозможным их использовать, так и с кабелем проблемы - нету и всё...
...
повышающий транс... правда я так и не понял, какое там будет напряжение на первичке?
...
на абум например 1000 мФк на 6,3 Кв.... и не париться, так как мощь там не нужна... |
По поводу умножителя - при самостоятельном изготовлении, да ещё и без заливки, МЕНЬШЕ он не получится! В смысле - может и удастся сделать его компактнее, но лишь до первого включения - прошьёт нафик по воздуху (змпирическое значение пробивного напряжения для воздуха - около 1 кВ на мм, ионизированного воздуха - ещё меньше... Т.е если на каком-то проводе возникнет "корона", то прошьёт весь умножитель по твсем концам даже при расчётном 1 кВ= 1мм. "...Очень плохая тёрка!", в смысле - изолятор...)
По поводу кабеля - в одной из твоих ссылок автор предлагал использовать антенный кабель снижения РК-75 диаметром 7 мм. Таки, 3,5 мм полиэтилена - мне кажется, вполне достаточная изоляция для 100 кВ. При желании можно и более толстый коаксиальный кабель найти, если есть знакомые РАДИОлюбители с мощными передатчиками.
По поводу напряжения на первичке - при питании от сети 220 В (по твоей последней схеме) - напряжению на конденсаторе С3, равному амплитудному напряжению сети, для сети 220 В это примерно 310 В (UАМПЛ=UЭФФ*(2^1/2), т.е 220*1,41=310,2 В, в расчётах выше я брал 320 с расчётом на нестабильность напряжения сети, у нас так вообще UЭФФ ниже 232-х сроду не опускалось).
С расчётами ёмкости мне пока тоже некогда париться, но при возможности зайду, гляну что там за расчёты (сам раньше не рассчитывал, особо не интересовался). По поводу потребляемого тока - ну, да, 10 мА - это ты уже загнул. Ток как таковой у тебя потребляться от умножителя практически не будет - у тебя будут только потери в кабеле и рассеяние на электроде (потери электрод - земля). Не скажу даже приблизительно, каков будет ток этих потерь, но это будут максимум микроамперы (ес-сно, при отсутствии явлений искровых или коронного разрядов). Я так думаю, что выходной ток в расчётах можно смело скинуть до 5 мкА (впрочем, если Элгену не перестали приходить сообщения об ответах, он, скорее всего, будет спорить, и возможно, мои прикидки где-то неразумны)...
Кста, 1000 мкФ на 6,3 кВ - это тоже ВНУШАЕТ...
Не, даже не ВНУШАЕТ, а ВНУШАЕТ!!! В комнате такой кондёр стопудово не поместится. Может, таки 1000 пФ?
____________
Да, именно параллельно каждому. 0,125 Вт - более чем достаточно. Можно вообще взять SMD-шки и прилепить их с обратной стороны платы (со стороны дорожек). А параллельно УЭ тиристора - не менее 0,25 Вт, через него будет проходить хоть и короткий, но достаточно мощный импульс тока от разряжающегося С2. |
|
|
Demeen
|
[quote]По поводу умножителя - при самостоятельном изготовлении, да ещё и без заливки, МЕНЬШЕ он не получится!
кто сказал что без заливки? [/-quote]
всё с заливкой ипоксидной смолы, и стеклостани...  |
|
Strike
Фанат форума
Сообщения: 3812
|
Насчет заливки, рекомендую автогерметик , послойно, через каждые 2-3 мм-вый слой - суточная "сушка".
Отменный изолятор. |
|

|